Description
Ultra Strut pkg. / Externally adjustable / L.W. brake kit
Designed Specifically For Drag Racing
For Spindle Mount Wheels
• Requires wheels designed for Anglia spindles
• These are not the same as Strange aluminum strut spindles
• Brake kit fits 1 piece forged or billet wheels
• Rotor offset is incorrect for two or three piece wheels
Features
Compact design suits low profile body styles
Integral body & spindle allows piston to travel below spindle center-line
Provides additional stroke in a confined space and greater shaft stability
Stud Mount Ultra Struts
• Stainless steel heat treated bodies – Made in USA
• Externally adjustable for extension rate
• Valved specifically for high horsepower vehicles
• Custom valving available
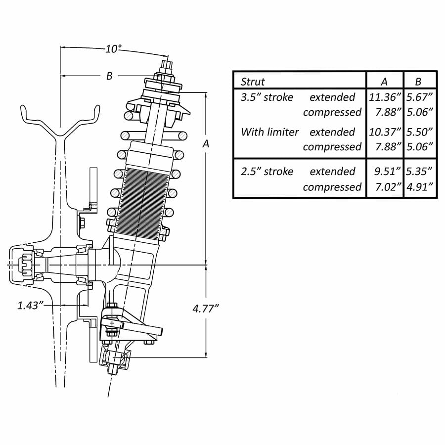
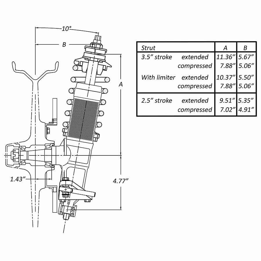
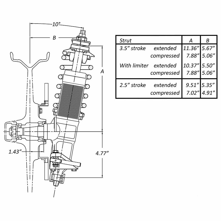
• Choice of 2.50″ or 3.50″ stroke
• 1″ internal travel limiter available on request
• Designed, machined, & assembled by Strange Engineering
3.50″ Stroke
Provides the most weight transfer
2.50″ Stroke
3.50″ with 1″ internal travel limiter
When the taller body is preferred, but with less stroke
2.50″ Stroke
The most compact version of this strut
Top Spring Seats
• Encased Torrington® bearings
• Reduces steering friction
• Allows height adjustments without springs binding
Billet Aluminum Steering Arms
• Provides stiffness while remaining lightweight
• Includes chrome moly rod ends for outer tie-rods
Timken® Bearings & Races
• Supplied to adapt Anglia style wheels
• Includes oil seals, washers, cotter pins, and spindle nuts
Lower Control Arm Fabrication Kit – S3418 / S3419
• Semi-finished TIG Welded 4130 lower control arms
• Inner tubing adapters
• Teflon® lined spherical ball LCA bearings
• Choice of 7/16″ or 1/2″ Teflon® lined chrome moly rod ends
• NAS bolts, Flanged locking nuts, & 3AN washers
Hyperco Springs (Blue) / Eibach Springs (Red or Silver)
• Chrome silicone steel
• Powder coated for corrosion resistance
• Choice of spring rate
Spring Manufacturer Dependent on Availability
If manufacturer or color is important, please specify
Not all rates are available in all three colors
Spindle Mount Brake Kit – B4600WC
• One piece forged slotted steel rotors with 1″ offset
• Single 1 3/4″ piston billet aluminum calipers
• Slider assemblies featuring Garlock bearings
• Soft metallic brake pads
• Billet aluminum caliper mounts
Brake Hoses And Lines Are Not Included
Calipers are tapped 1/8″ NPT and supplied with male 3 AN fittings
Brake Upgrades
Two piece rotors – OPRB01
Evolution brake kit – OPRB01E
Recommended Spring Rates
Front Wt – Spring Rate
1,100 lbs – 200 lbs
1,200 lbs – 200 to 225 lbs
1,300 lbs – 225 to 250 lbs
1,400 lbs – 250 to 275 lbs
Consult Your Chassis Builder For Stroke & Spring Rate
Related
Strut adjustable cup kit – S3403-RJ










